2025-10-10

SCHRITT 2: Auspacken der Powerwall 3 und Transportieren mit der Powerwall-Sackkarre

Warning IconA warning icon, calling your attention to a possibly risky situation
Warnung
Bewegen Sie die Powerwall 3 nicht in der Verpackung, während die Verpackung aufrecht steht. In dieser Position kann das Powerwall 3 Gerät in der Verpackung verrutschen, was dazu führen kann, dass die Powerwall 3 umkippt.
  1. Öffnen der Powerwall-Verpackung:
    1. Nehmen Sie den Karton mit der Powerwall-Glasfrontblende vorsichtig heraus und legen Sie ihn auf einer ebenen Fläche ab.
      Warning IconA warning icon, calling your attention to a possibly risky situation
      ACHTUNG
      Handhaben Sie die Glasfrontblende vorsichtig. Stellen Sie die Abdeckung nicht auf einer harten, unebenen Oberflächen ab, anderenfalls kann das Glas zerbrechen.
    2. Nehmen Sie den Zubehörbeutel ab und legen Sie ihn beiseite.
    Informational PurposesAn informational icon, calling your attention
    Anmerkung
    Bitte senden Sie die Powerwall 3-Verpackung an das Lager zurück, von dem die Geräte ursprünglich versendet wurden. Für Anweisungen dazu siehe die .
  2. Um die Powerwall 3 mit der Powerwall-Sackkarre anzuheben, lösen Sie die (2) Schrauben, die jeweils einen Griff in seiner Position halten ➀, und nehmen Sie die Griffe ab ➁.
    Informational PurposesAn informational icon, calling your attention
    Anmerkung
    Beachten Sie Powerwall Dolly Benutzerhandbuch für eine Anleitung zur Montage der Powerwall 3 mit einer Powerwall-Sackkarre.
    Warning IconA warning icon, calling your attention to a possibly risky situation
    ACHTUNG
    Die Powerwall-Sackkarre ist das empfohlene Werkzeug zum Transport der Powerwall 3. Wenn Sie eine andere Sackkarre verwenden:
    1. Stellen Sie sicher, dass die Powerwall 3 in Richtung der Sackkarre zeigt und die Vorderseite des Geräts durch ein Stück Pappe (z. B. Karton, in dem die Halterung geliefert wird) oder ein ähnliches Material geschützt ist. Sichern Sie die Powerwall mit einem Gurt an der Sackkarre.
    2. Stellen Sie die Powerwall nicht so auf, dass sie von der Sackkarre weg zeigt.
  3. Lassen Sie die Powerwall 3 noch in der Verpackung, bringen Sie die zwei Hebegriffe an der Powerwall an und ziehen Sie die (2) Schrauben pro Griff an, um die Griffe zu befestigen ➀. Beachten Sie, dass der obere Griff größer und abgerundet ist, während der untere Griff kleiner und eckiger ist. Sie werden an den vorhandenen Befestigungspunkten mit Gewinde angebracht. Ziehen Sie an den Griffen, um sich zu vergewissern, dass sie fest angebracht sind, bevor Sie fortfahren.
    Warning IconA warning icon, calling your attention to a possibly risky situation
    Warnung
    Heben Sie die Powerwall 3 nicht von Hand an den Griffen an. Diese Griffe dienen dem Anbinden an die Sackkarre. Sie sind nicht für die Aufnahme von Lasten ausgelegt, und der Versuch, die Powerwall 3 daran anzuheben kann zum Herunterfallen und zur Beschädigung des Geräts führen.
  4. Vergewissern Sie sich, dass alle Stellfüße vollständig in die Powerwall eingeschraubt sind.
    Warning IconA warning icon, calling your attention to a possibly risky situation
    ACHTUNG
    Die Stellfüße müssen an der Powerwall 3 montiert bleiben; dies gilt auch für die Wandmontage. Die Stellfüße sorgen dafür, dass der erforderliche Abstand zwischen Powerwall 3 und einer darunter liegenden Fläche eingehalten wird.
  5. Bringen Sie die Powerwall-Sackkarre mit den Hebegriffen in Eingriff:
    1. Heben die Powerwall-Sackkarre mit jeweils einer Person an jedem Ende an.
    2. Heben Sie die Hebevorrichtung an und senken Sie die Powerwall-Sackkarre ab, indem Sie die Hebeplatte beim Absenken zwischen die Powerwall 3-Füße schieben und die Hebevorrichtung so absenken, dass sie in die Griffe eingreift.
      Warning IconA warning icon, calling your attention to a possibly risky situation
      ACHTUNG
      Vergewissern Sie sich, dass die Griffe vollständig in die Sackkarre eingreifen, bevor Sie fortfahren.
  6. Stellen Sie einen Fuß als Drehpunkt auf die Powerwall-Verpackung und heben Sie dann die Powerwall und die Sackkarre in eine stehende Position.
    Warning IconA warning icon, calling your attention to a possibly risky situation
    ACHTUNG
    Powerwall 3 muss sich in der Verpackung befinden, wenn sie so angehoben wird. Die Verpackung stellt sicher, dass die Kanten des Gehäuses geschützt sind.
  7. Nehmen Sie die Verpackung ab und legen Sie sie beiseite.
  8. Positionieren Sie die Powerwall an der Montagewand.
    Warning IconA warning icon, calling your attention to a possibly risky situation
    Warnung
    Gehen Sie äußerst vorsichtig vor, wenn Sie die Sackkarre auf unebenem Gelände, wie Gras, Schlamm oder losem Schotter, oder an einem steilen Abhang verwenden.
    Warning IconA warning icon, calling your attention to a possibly risky situation
    ACHTUNG
    Senken Sie die Hebeplatte immer auf ihre niedrigste Position ab, bevor Sie die Sackkarre mit angebrachter Powerwall 3 bewegen.
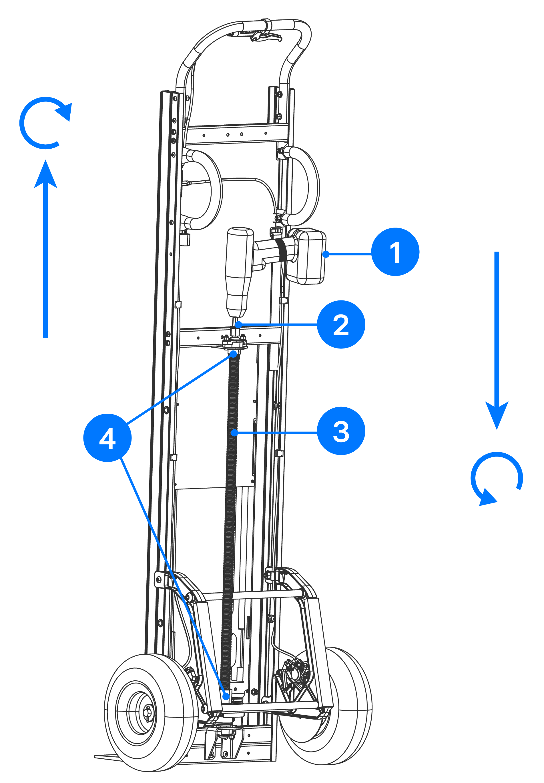
  9. Zum Anheben oder Absenken der Powerwall 3:
    1. Neigen Sie die Sackkarre 30 Grad nach hinten, damit sich die Powerwall nicht nach vorne neigen oder an der Wandhalterung verfangen kann.
    2. Setzen Sie eine ¾-Zoll-Sechskantmutter oder einen 19-mm-Steckschlüsseleinsatz auf die Hebeschraube der Sackkarre.
    3. Spannen Sie die Sechskantmutter oder den Steckschlüsseleinsatz in den Akkuschrauber ein und fixieren Sie den Akkuschrauber mit dem mitgelieferten Gurt an der Seite der Sackkarre.
      Warning IconA warning icon, calling your attention to a possibly risky situation
      ACHTUNG
      Verwenden Sie keine Schlagbohrmaschine.
    4. Vergewissern Sie sich, dass der Akkuschrauber das höchste Drehmoment (oder die langsamste Einstellung) eingestellt ist, und lassen Sie ihn laufen, bis die Powerwall auf die gewünschte Höhe angehoben wurde. Lassen Sie den Akkuschrauber zum Absenken rückwärts laufen.
      1 Bohrer
      2 Steckschlüssel
      3 Hubspindel
      4 Begrenzer
      Warning IconA warning icon, calling your attention to a possibly risky situation
      ACHTUNG
      Achten Sie auf die Begrenzungen an der Hebeschraube und versuchen Sie nicht, die Schraube über diese Begrenzungen hinaus zu drehen.
      Warning IconA warning icon, calling your attention to a possibly risky situation
      ACHTUNG
      Heben Sie die Powerwall 3 mithilfe der Powerwall-Sackkarre oder einer Plattform-Hubvorrichtung an.
  10. So lösen Sie die Sackkarre von der Powerwall 3:
    1. Heben Sie die Hebevorrichtung an, um die Sackkarre von den Griffen zu lösen.
    2. Bewegen Sie die Sackkarre weg von der Powerwall 3.
    3. Senken Sie die Hebeplattform mit dem Akkuschrauber auf die niedrigste Position ab.
    4. Entfernen Sie die beiden Hebegriffe und befestigen Sie sie wieder an der Sackkarre.